用数控车床加工零件,一些典型的加工工序,如车削外圆、端面、圆锥面、车螺纹、镗孔等,所需完成的动作循环次数较多,十分典型,采用一般的G代码指令程序会繁琐的多,所以我们引入了复合循环指令,将这些典型动作预先编好程序并存储在存储器中,用G代码进行指令。循环中的G代码指令的动作程序要比一般的G代码所指令的动作要多得多,只需给出精加工形状轨迹、指定加工的吃刀量,系统就会自动计算出精加工路线和加工次数,自动决定中途进行粗车的刀具轨迹,因此可大大简化编程。
首先介绍一下G71指令具体的应用原则:
G71是内外圆切削复合循环
概述:G71指令称之为外径粗车固定循环,它适用于毛坯料粗车外径和粗车内径。在G71指令后描述零件的精加工轮廓,CNC系统根据加工程序所描述的轮廓形状和G71指令内的各个参数自动生成加工路径,将粗加工待切除余料切削完成。
指令格式:G71 U_R_
说明:其中U是每次加工深度,R为每次退刀量,均是半径值,没有正负号,U、R均为正值,编程者视情况而定。
G71 P_Q_U_W_F_
说明:其中P是程序开始单节号,Q是程序结束单节号,P和Q开始到结束描述工件的轮廓,U是精加工预留量(X轴直径值),W为Z轴精加工预留量,F为切削速度(粗加工时有效)。
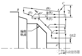
下图是G71粗车外圆的加工路线:

G70精加工复合循环
指令格式:G70 P_Q_
说明:其中P(ns)是程序开始单节号,Q(nf)是程序结束单节号,P→Q描述了工件的轮廓,G71和G70分三步走:第一步粗加工,第二步精加工,第三步用G70精加工。
使用说明 ① 粗车循环过程中从P到Q之间的程序段中的F、S功能均被忽略,只有G71指定的F、S功能有效。
② 在粗车循环过程中,刀尖半径补偿功能失效。
③ 在顺序号为ns的顺序段中,必须使用G00或G01指令。
④ 在顺序号为ns的顺序段中,使用G71指令时,不得有Z轴方向的位移,使用G72指令时不得有X轴方向的位移。
⑤ 处于ns到nf之间的精加工程序,不应包含子程序。
G71循环指令可用两种类型的粗车加工,一是零件轮廓在X和Z轴方向坐标值必须是单调增加或减小,二是零件轮廓在X轴方向坐标值不是单调变化的,允许有凹槽,但在Z轴方向上必须是单调变化的。精车循环G70在程序中不能单独出现,要分别与G71、G72、G73配合使用。
⑦ 内孔加工时,注意X轴方向上的预留量U应为负值。
[G71、G70应用范例一] 这是一次数控车工等级考试的编程题。
如图1-17,加工下图所示零件,毛坯直径为42mm,长50mm,从右端轴向走刀切削,粗加工每次进给深度2mm,进给量为0.25mm/r,精加工余量X向0.4mm,Z向0.1mm。
G99 M3 S900 T0101;
G0 X48. M8;
Z3.;
G1 Z0.F0.3;
X0. F0.15;
G0 W1. X45.;
G71 U2. R1.;
G71 P101 Q102 U0.4 W0.1 F0.2;
N101 G0 X10.;(该单节不允许有Z值)
G1 Z0.F0.3;
X12. Z-1. F0.1;
Z-15. F0.2;
X16.;
X20. W-6.;
Z-30.;
G2 U10. Z-35. R5. F0.1;
G1 X34.;
X40. W-3.;
N102 Z-48.;
G0 Z120.;
T0202 S1200;(提高转速,换刀精加工)
G0 X45.;(换刀精加工定位点必须与复合循环定位点一致)
Z1;
G70 P101 Q102;
M5;
M30;
[G71、G70应用范例二]下图是一个内孔加工的案例,零件的预留孔为20,选择用G71指令完成内孔的加工。
程序语句
G99 M3 S700 T0101
G0 X19.(小于预留孔)M8
Z2.
G71 U1.5 R0.5
G71 P01 Q02 U-1. W0.5 F0.15(内孔加工U<0)
N01 G0 X38.
G1 ZO.F0.3
X34. W-2.F0.12
Z-20.
X32.
G2 X30. W-1.R1.
G1 Z-37.
G3 X24. W-3. R3.
N02 G1 Z-51.
G70 P01 Q02 S800(不换刀,提高转速精加工)
G0 Z200. M9
M5
M30
不当你的世界 只作你的肩膀
○



