凤凰网WEMONEY讯 中国金融科技公司玖富数科集团(下称“玖富数科”)于8月15日在美国纳斯达克上市,股票代码“JFU”,发行价为每股9.5美元。
据了解,玖富数科发行675万股A类股,现有股东出售215万股,发行规模为890万股ADS(美国存托股票),募资总额约为8455万美元。
业绩方面,招股文件披露, 2016年、2017年和2018年,玖富数科的净收入分别为22.61亿元人民币、67.42亿元人民币和55.57亿元人民币;净利润则分别为1.62亿元人民币、7.24亿元人民币和19.75亿元人民币。
截至2019年3月31日,玖富数科的净收入从2018年同期10.92亿元人民币增加至12.04亿元人民币,净利润则从2.91亿元人民币增加至5.27亿元人民币。

(业绩情况,源自玖富数科招股文件) 招股文件披露,公司收入在很大程度上取决于用户群的增长。据披露,玖富平台活跃借款人数量从2016年的130万增加到2017年的360万,增长了171.5%;活跃投资者数量从2016年的70万增加到2017年的120万,增长了66.5%;注册用户数量从2016年末的2760万增加到2017年末的5160万,增加了87.0%。到2018年末,注册用户数达到7240万。另据玖富数科官网资料显示,截至2019年6月,旗下各子平台累计注册用户超过8000万。 不过,玖富数科披露,监管环境等方面的挑战给业务增长带来负面影响。2018年,平台活跃借款人减少了36.3%,降至230万。活跃投资者的数量减少了28.6%,达到90万。截至2019年3月31日的三个月,平台上的活跃借款人和活跃投资者数量分别为60万和30万,与2018年同期相比,分别减少40%和31.1%。对此,玖富数科表示,正不断寻求改善和优化用户体验,以实现高水平的用户满意度。 据了解,为了缓解监管环境带来的压力,玖富数科自2018年起制定直接贷款计划,并寻求与更多的金融机构,以加强和多样化资金来源。据披露,截至2019年6月30日,金融机构合作伙伴已根据平台的直接贷款计划批准了总额超过700亿元人民币(104亿美元)的融资限额。
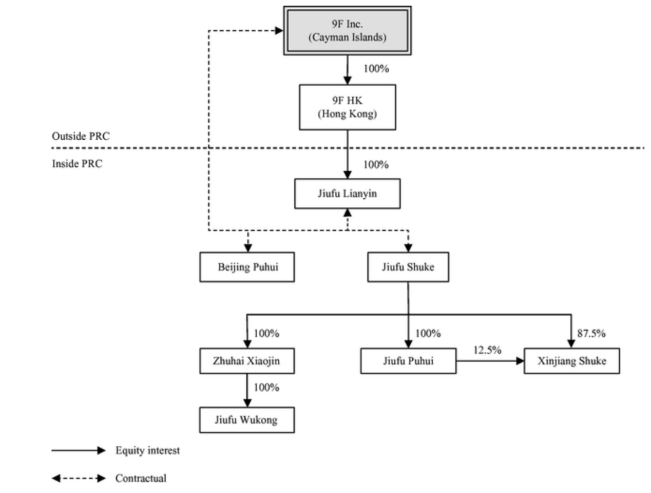
(公司架构,源自玖富数科招股文件) 官网资料显示,成立于2006年的玖富数科已陆续成立了十多家独立全资或控股子公司,拥有数字科技、数字账户、数字普惠、数字财富、数字国际五大业务板块,产品品牌包括玖富科技、玖富钱包、悟空理财、玖富证券(香港)、玖富财富(香港)等,并控股或参股了保险经纪、基金销售、银行、融资租赁等多个具有牌照资质的机构。(凤凰网WEMONEY 刘双霞/编辑)



