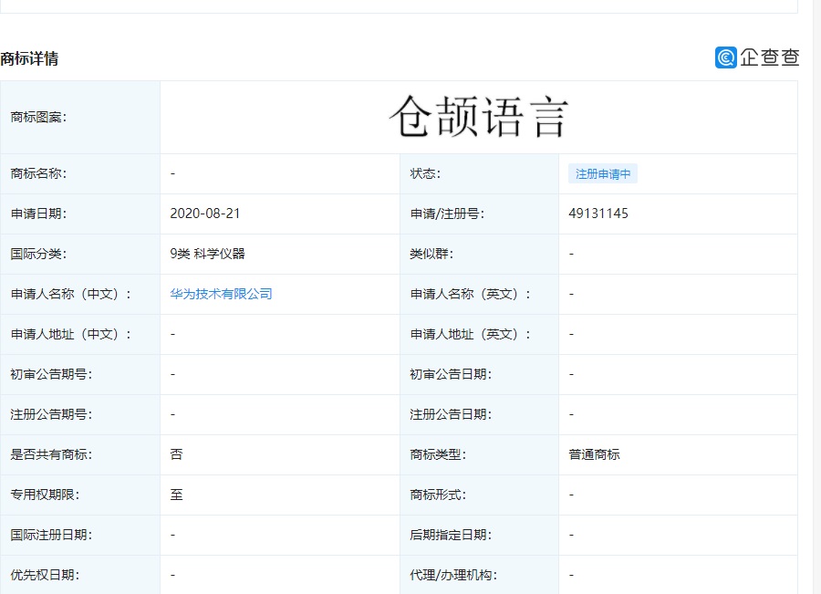
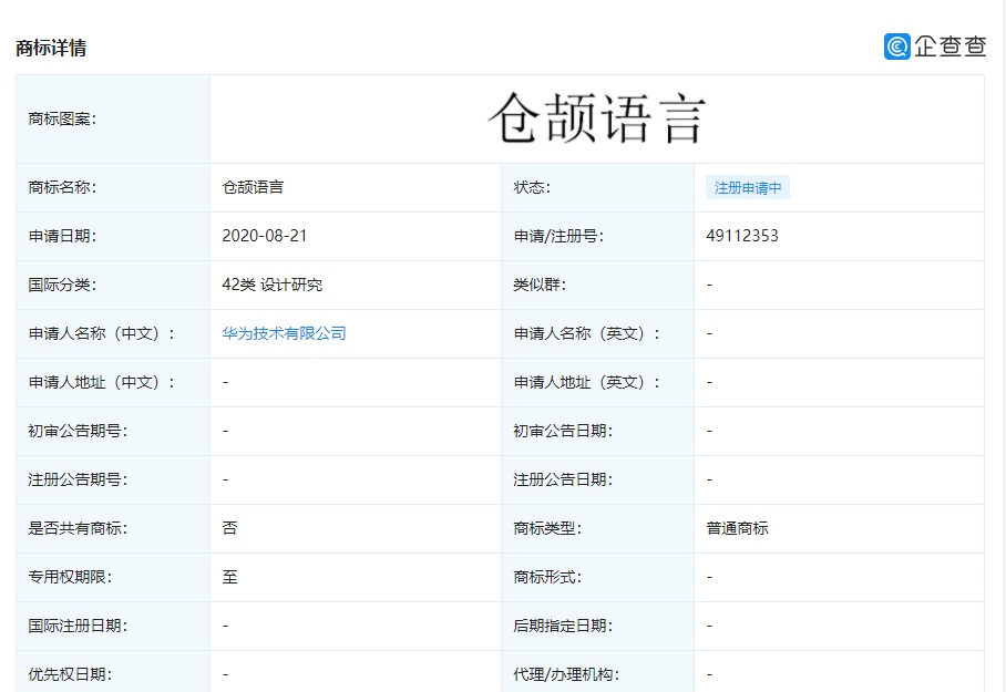
IT之家 9 月 14 日消息 企查查 APP 显示,8 月 21 日,华为技术有限公司新申请两件 “仓颉语言”商标。上述商标状态为:商标申请中,国际分类为第 9 类及第 42 类,其中第 9 类中包含计算机及手机相关的软件程序商品,第 42 类则包含计算机编程服务等。

IT之家昨天报道,博主 @长安数码君 爆料,从华为内部得知,华为正在自研编程语言,名为仓颉,并且该项目已经进行了很久,预计明年会向外公布具体细节。还有消息称,华为正在研发新的自主编程语言仓颉,领头人是南京大学的计算机科学与技术系博士生导师——冯新宇,其曾获得 2019PLDI 最佳论文奖。
仓颉,世人说他 “龙颜四目,生有睿德”。由于他是一个小部落的首领,因此也被叫做仓帝。在历史传说中,仓颉被认为是中国原始象形文字的创造者。在汉字创造的过程中起了重要作用,被尊为 “造字圣人”。



