12月5日,上海票据交易所票据信息披露平台发布《截至2025年11月30日承兑人逾期名单》。名单显示,在2025年6月1日至2025年11月30日期间,发生3次以上票据逾期,且月末有逾期余额或当月存在票据逾期行为的承兑人共计735家,山东山歌食品科技股份有限公司(下简称“山歌食品”)位列其中。

上海票据交易所官网“信息披露平台”栏目中的票据承兑人信用信息详情显示,山歌食品累计承兑发生额0.00元,承兑余额10,159,222.50元,累计逾期发生额30,108,305.90元,逾期余额10,159,222.50元。
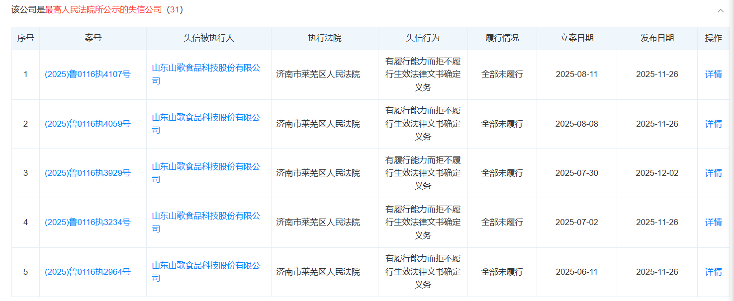
与此同时,公开信息显示该公司经营与合规风险密集。今年以来,其法定代表人谢梅木所持股权已被济南市莱芜区人民法院冻结,涉及金额达1750万元。公司被列为限制高消费企业多达26条,并因“有履行能力而拒不履行生效法律文书确定义务”“违反财产报告制度”等失信行为,被最高人民法院多次列为失信公司。此外,该企业曾因生产的食用植物调和油在抽检中被判定为不合格产品,暴露出产品质量管控问题。
天眼查信息显示,山歌食品成立于2003年,位于山东省济南市,主要从事农副食品加工业。公司注册资本及实缴资本均为10275万元人民币,已于2017年完成战略融资。在股权结构上,公司由法定代表人谢梅木持股73%,莱芜高新投资控股有限公司(国有独资)持股11%,山东财金集团旗下的山东财金慧农投资发展中心(有限合伙)与山东省财金创业投资有限公司分别持股10.85%与2.91%。
(凤凰网山东综合上海票据交易所、天眼查等整理)






