四个秃头。一个工作日的午后,在乘坐回办公室的电梯里,钱晓群仔细数了数。
“当时特别想拿手机拍下来,”在描述这个场景的时候,他忍不住笑,“关键电梯里一共也没几个人,四个秃头闪亮亮的,太明显了。”
钱晓群现在是京东的一名程序员,他大学毕业还不足一年。学生时代的他曾以为“程序员秃头”只是个段子,现在,在办公室一个又一个稀疏的头顶中,他才意识到,这不仅是事实,也可能是他的未来。
“程序员是一个需要小心谨慎的工作,”顾明这样解释“程序员秃顶”的现象,他是一家小型电商公司的研发部leader,今年是他做程序员的第六年。“比如一个’>‘符号写错成‘<’,效果就完全不同。”他说。他把程序员们秃顶的原因归结为高度集中和长时间面对电脑的工作状态。
和许许多多的程序员一样,顾明和钱晓群都非常熟悉、也经历过传说中的“996”工作状态——上午9点上班、晚上9点下班、每周工作6天,如果在紧急赶项目时,他们甚至会变成997、9117、甚至007。

在八个月前,计算机专业毕业的钱晓群梦想是“进大厂”,也就是腾讯、阿里、京东这些互联网巨头公司,这也是想成为程序员的大学生们最理想的去处。然而,他当时并没有想到,“进大厂”之后,他的生活中只剩下工作,“晚上10点多到家,除了工作,几乎什么都做不了。”
但是比起“加班”,更让他难以接受的,是在刚刚过去的3月中,京东内部通知的“995工作制”。钱晓群是在部门例会上被领导告知了这一决定,虽然以前加班时,他和同事也常常“996”,但将其设定为公司制度,意味着即使做完工作,也不能提前离开。严重点说,这是一种对生命的浪费。
在最近两年,“996”这个以往用于项目紧急赶工时的加班制度,正在被一些公司理所当然地当成日常工作制度。2019年1月,杭州有赞CEO白鸦在年会上公开宣布公司将实行“995工作制”,项目紧急时增加为“996”,引发大量吐槽。
不满情绪在程序员之间蔓延,从一个部门到另一个部门,从一家公司到另一家公司。快速发展的互联网产业这个湖面下,暗流涌动。
“加班重灾区”
程序员对996的不满,表现得非常有程序员的特色。
3月27日,一个名为996ICU的项目在GitHub上传开。“什么是996.ICU?工作996,生病ICU”,在这个项目指向的域名页面上,发起人这样写到。他将996工作制下最低72个工时与《劳动合同法》等条文对比,并呼吁“程序员生命为重(Developers’ lives matter)”.
GitHub是程序员们常用的一个代码托管网站,可以理解为一个“代码仓库”,除了可供存放代码,也可以将自己的开源项目放在上面供他人浏览学习。在这个网站上,不仅可以看到Linux、Android等耳熟能详的项目代码,程序员也可在其中看到当下最流行的开源项目。
最近一周,“996ICU”成为GitHub上最受欢迎的项目,越来越多的人给这个项目“加星”,这是程序员们对一个开源项目表示肯定或支持的方式,类似于“点赞”。程序员们通常不轻易“加星”,在钱晓群的印象中,如果能获得几百、上千颗星星,已经是非常优秀的项目,但当他第一次看到“996ICU”这个项目时,其已经获得5000多颗星星。
钱晓群立刻明白,这个项目火了,但在他意料之外,仅仅三四天后,“996ICU”星数已超过10万,而且还在继续增长。作为对比,在iOS这个话题下的一些热门项目,获得的星数也仅在2到5万之间。有人称996ICU为“GitHub星数上升最快的项目”,在舆论声中,大家开始将这个项目定义为“程序员的一次反抗”。
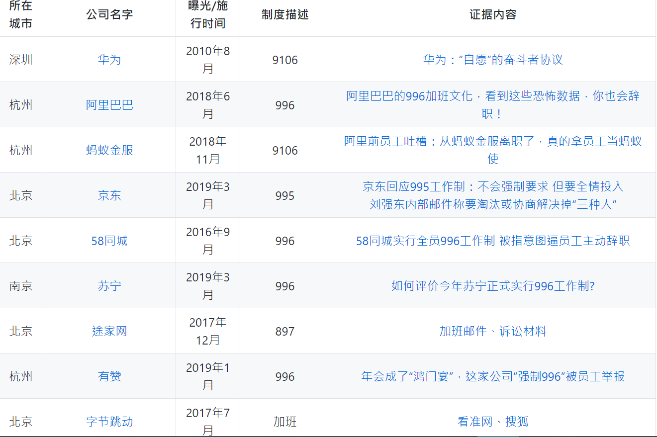
“996ICU”的发起人呼吁程序员们进行揭露,将超长工作制度的公司写在“996公司名单”中,在过去一周内,华为、阿里巴巴、蚂蚁金服、京东、58同城、苏宁、拼多多、大疆、字节跳动……一个个互联网头部公司先后上榜。迄今为止,这个名单还在不断加长,多益网络、马上金融、游族等中小公司的名字也陆续出现。
“996ICU”项目下,被程序员们揭露的公司名单
互联网行业早已成为加班的“重灾区”,早在2016年,高德发布的交通报告中即显示,互联网行业加班最多,前10名公司每天加班3小时以上,平均下班时间在21:30分之后。
辩证996
加班已然是常态,程序员对996的反抗,也并非一开始就有。
一位阿里的员工回忆,最早开始施行996时,通常是遇到淘宝大促等特殊时期,为了保证项目按时上线、抢购当天运转顺利,开发团队需要连续加班月余甚至数月,但在当时,每每项目结束,程序员们往往颇有成就感,随后到来的一段“闲时”,也可以让员工恢复体力。
2014年,在996刚开始流行时,舆论对此的态度甚至是偏向正面的。当时,虎嗅上的一篇文章将996的互联网行业与“965”的传统IT行业对比,鼓励传统IT人抛弃旧有观点,拥抱互联网;也有人评论996时写到,“对于奋斗者,这种工作方式可谓正常,付出努力不一定会成功,但成功都是要付出努力的”。
如果在网上搜索996相关话题,你会发现,2013年,关于996的讨论尚寥寥无几,到了2014年,996话题度骤升,年底时,有人发帖提问,“996是程序员的必然宿命吗”;追溯百度百科中“996现象”、“996工作制”词条,最早的编辑时间也始于2014年4月。
移动支付、O2O、共享经济,一系列风口,都在这一时期爆发,伴随着行业疯狂加速,程序员们的工作时间也在被无限拉长。在吴晓波《激荡十年,水大鱼大》一书中,记录了2014年滴滴的一次赶工:出行订单量保障50倍,程序员连续加班工作七天七夜,“有人直接昏迷倒地”。
徐冰在2016年加入了阿里的钉钉团队,尽管在入职前,HR和他一再保证,这个团队“不存在加班现象”,但在他入职的第一天,就工作到凌晨12:30,“后来我才发现,这还是我下班最早的一天,”他回忆说。
徐冰所在团队的打卡时间是早上九点,九点半则是每日例会,而下班时间则在半夜12点之后,比较晚的时候,甚至是凌晨2点到4点,但第二天一早,仍然要按时打卡。他将团队的状态形容为“一人司3、4职”,至于他自己,最多的时候,需要“一人司8职”。
为此,他也获得了阿里相当不错的薪酬,与他此前、此后的年薪都有着“明显差别”。“我老板给我灌输的观念是,阿里巴巴付你这么多薪酬,就是用前来买你的时间和空间,你没什么好抱怨的。”
“程序员的人力成本的确非常高,”作为HR,方莉一边感慨于她所在公司程序员的辛苦,一边也承认这一事实,“所以领导觉得付出了这么多成本,应该看到回报。”
对于许多互联网企业,程序员不仅是“最贵的人力成本”,也是公司的重要竞争力。刚刚离开趣店、也离开了纯互联网行业的秦然,回顾他9年的从业历程时反思,程序员们加班时长如此极端,一个重要原因是,许多互联网企业的竞争力就是“比快”,比推广、比占领市场、比转型,在拼命扩张和试错中,取得自己的一席之地。在这样的竞争模式下,公司能否赢得市场,极大依赖于程序员甚至更多部门员工的加班情况。
“我现在在一个传统汽车公司的互联网部门,”秦然告诉全天候科技,“公司有自己的行业竞争壁垒,纯互联网公司再快,短期也没办法进入这个行业,所以公司做事就不会一味求快。”
即使是摆明立场表示反对“996”的顾明,也承认,在他所在的电商公司遇到促销等节点时,团队加班是不可避免的,“我让大家平时尽量不加班,但关键时刻,加班赶项目,每个人都要跟上来。”
不过,如果放眼整个时代背景,处于快速转型期的中国经济下,可以说没有哪个行业的人是轻松的。朝九晚五已经成为一种稀缺的风景。一定程度上说,节奏快、工作时长长也未必是坏事,要想在这样的大环境里脱颖而出,或许996是一种必须,甚至有人享受这种状态。
比如,一个备注为“百度副总裁”的微博账号@YentownAngel早在2012年国庆假期间就在微博中提到,“搞我们这一行,没有真正意义上的放长假,对我来说,放假、休假、度假、休息时间都是碎片式的”。当时,还没有创办今日头条的张一鸣转发了这条微博,并评论说,有人毕业两年就可以独当一面,有人毕业10年还要想办法跳槽溢价,区别其实很早就开始体现了。
“变味”的996
“开始是项目制的加班,大概在2015、2016年吧,(这几年)996变得越来越普及。”方莉回忆说。方莉是一名电商公司的HR,在她的记忆中,数年以前,行业中加班现象不算普及,“以前没想过周六上班、也没想到工作干到半夜这种事。”
方莉回忆说,在公司首次实行996时,程序员并未表现出不满,反而甚至是“有些兴奋的”。 “当时因为要赶一批项目,所以讲得是实行3个月,有几千甚至一万的加班费,”她回忆说,“所以也可能是因为加班费,也可能是因为想做出一点成绩来,大家对这个决定还是比较支持的。”
然而,996真正实行后,方莉才发现,最初的想法很快就“变味”了。
在赶工期间,因为项目迭代太快,领导限定时间又短,团队常常需要加班到凌晨1、2点。根据公司制度,在晚上9点之后的工作时间,可以按加班进行调休,折抵上午的工时,换算后,员工可以在中午1、2点再上班。
“后来每个人都变成中午上班、凌晨下班,形成一个恶性循环,”方莉感慨。在她展示的一份打卡记录中,全天候科技看到,赶工期间的某一天,团队中最早上班时间是当天中午12点47分,最晚为下午两点,共有3个人;下班时间则是最早凌晨12点01分,最晚凌晨3点38分。
“恶性循环”持续到三、四个月时,最年轻的程序员也开始坚持不住,几个平时身体很好的“95后”不仅出现了黑眼圈,开始纷纷感冒。“公司的程序员都老得特别快,”方莉感慨说,有一次,一位看似中年的程序员叫她姐姐,惊奇之下,她问过年龄才知道对方还不到30岁。
在不断加重的工作时长下,“身体吃不消”成为程序员们的一大反应。极光大数据发布的《2108年程序员研究报告》显示,有33.4%的程序员表示会为“个人身体健康问题”感到担忧,在一线城市的程序员中,这一问题居于所有选项的第三位。
“996”的工作制下,在一轮轮的赶工中,甚至逐渐变成了997、9117,许多公司里,程序员的工时还在持续增加。
“2016年的时候,听说支付宝有个26岁的员工在连续工作36小时后猝死了,在北京。” 徐冰回忆称,每日凌晨下班的境况,让他额外关注这些传闻,不仅如此,他还听到一些同事被查出癌症早期、恶性肿瘤,每一个消息,都在加重他的离职想法。
2017年,徐冰选择离开阿里,结束了不足一年的“阿里生涯”,改到一家相对传统的互联网公司。薪酬降了不少,不过他算了算,“其实工作时薪是增加的”。
与无限延长的工时相对,996的另一种“变味”,是顾明所称的“无脑强制996”,在他的理解中,这也996在互联网行业盛行之后,产生的一种弊病。“看到别人在搞996,有些管理者觉得挺好,加班营造一下狼性文化,带动公司氛围,不然一下班就走,好像很懒散,结果无论有事没事,都开始提倡强制996”。
在采访中,顾明反复强调了“无脑”这个词,以及对“强制996”的反感。回到6年前,在他刚刚毕业时,因为公司领导热爱加班,要求员工也不能提前离开,无形中使公司形成了“强制996 ”的工作文化,最终结果是,因为知道无法提前下班,程序员们反而出现了“磨洋工”现象,本可以6点做完的工作,各种磨蹭下,到9点才能完工。
这个问题也正出现在更多的“强制996”公司中。尽管京东公开表示,没有强制“995”,只是鼓励“全情投入”,“但是现在在裁员,大家都懂,”钱晓群对全天候科技说,“谁也不敢提早走,我们每周统计一次打卡,谁早谁晚一目了然,早走说不定就被裁掉了。”
但事实上,995执行至今的一个月中,钱晓群的工作任务并没有出现明显增加,无聊之余,他开始和一起入职的大学同学探索如何“磨洋工”。“朋友发给我一个命令行,就是那种密密麻麻的页面,看着像在写代码,其实在斗地主,没办法,消磨时间吧”。
一位在腾讯工作的程序员向全天候科技反映称,在996的环境下,不仅团队中有人“磨洋工”,而且效率高、提早完成工作的同事,还需要“陪洋工”,即耽误休息,也影响了高效率员工的积极性。
寒冬中的反抗
一些人在尝试拒绝“996”,更反对变味的996。
经过四个月的“恶性循环”后,方莉所在的公司中,不仅是员工身体变差,而且极度疲惫下,工作效率也没有得到提高,目标业绩并未完成。一些管理层的同事偷偷和她抱怨,如果不是在这里有管理机会,肯定会选择离职。
“当时因为业绩没有冲上去,所以业务领导也不好意思去找大老板沟通工时的事情,但我觉得需要有人争取一下,否则一直持续下去,很快可能就会有员工流失。”方莉决心改变这一现象,她直接找到CEO反应情况,将打卡时间修正为每晚6点,并将调休改为每加班2小时、折抵次日1小时,且不得晚于早上11点达到公司。
这样更改之后,虽然工作任务并没有减少,但在方莉的公司中,“凌晨下班”的现象逐渐改善,“工作状态、满意度都提高了很多。”她告诉全天候科技,目前员工多在8点左右下班,大多不会晚于这一时间。
顾明在前任领导离职后,接任负责研发团队。上任伊始,他就取消了“强制996”,鼓励大家做完工作早点回家,不要盲目加班。“我会要求刚毕业的年轻人加加班,因为他们刚来,对工作需要一个学习过程,也没有家庭压力,如果这时候都不想加班,就是工作态度有问题了。”
除此之外,他对员工的要求是,既然平时不强制,那在紧急项目时,加班也不要抱怨。“有一次赶手机端的上线,大概持续了两个月吧,当时不止是996,”在顾明的印象中,对于这样短期的紧急加班,并没有听到团队的怨言。项目如期完成后,他奖励给项目组每人奖励3天带薪假。
不过,更多程序员无法像方莉和顾明一样去改善状况,而且,在2018年到2019年的“互联网行业寒冬”中,越来越多的程序员,在正面遭遇“强制996”。
如果根据996ICU项目996公司名单“曝光/施行时间”来看,京东、有赞、智贝科技、氪细胞、霁云科技、必胜课、蝴蝶互动等20家公司,均在2019年“曝光/施行”了996工作制,对于其中部分公司,举报人甚至在“制度描述”中写上了“9106”和“007”。
“几年后回头看,这次绝对是好事,”年会上宣布996备受争议后,有赞CEO白鸦在朋友圈中这样回应。
只是,与5年前不同,这一次,很少有人再将996与奋斗、成功联系在一起,“都能看到互联网在进入寒冬,公司日子不好过,”前述阿里员工向全天候科技阐述他的看法,“以前获客成本低,现在获客成本涨了很多倍,程序员的人力成本也高,‘节流’做不到,领导觉得至少多加点班,能够‘开源’吧。”
在2018年,京东因遭遇“明尼苏达事件”,受到多方质疑,市值一度跌破400亿美元。尽管钱晓群的领导告诉他,改制“995”是为了提升京东士气,把京东“丢失的血性找回来”,“但其实就是想,把你们都留下来,就算磨洋工、吃晚饭耽误一些时间,但总会比不加班多一些产出,”他有些负气地表示,“这看上去像疾病乱投医”。
即使在方莉看来,领导能够同意她的程序员工作时间更改申请,也并非考虑到员工的承受能力。在她与CEO的谈话中,对方询问最多的是,“有什么建议和方案吗、业绩可以提高吗?”
“很多互联网公司的老板,重点都是让公司赚钱,”她说,“他们要让公司活下去、能够养活这些员工,所以根本无暇考虑员工感受这些事情。”
日渐严峻的工作环境,正在推进一些程序员的离开。钱晓群透露说,朋友最近又给他转发了一个“投简历小工具”,和斗地主工具类似,这也是一个“看似写代码、实则投简历”的“磨洋工神器”。“不想再去大厂了,可能会考虑955的公司吧,比如外企之类的。不是说不加班,但是不想是这种强制加班”。
更多不愿、不能离开的程序员们,选择在996ICU项目的页面下默默“加星”,在过去一周内,这个项目的星数已经增长至16万。
虽然在顾明看来,这只不过是程序员们的一次集体吐槽,无法产生实际效果,“搬个小板凳看看就好”,但一位程序员向全天候科技透露说,996ICU的发起人正在推动GitHub上的著名代码加入这个项目。
“996ICU有一个证书,如果著名的开源代码能够加入这个证书,那其他使用了这个代码的公司,就必须遵守协议要求,也就是不能采用996工作制。”这位程序员告诉全天候科技,他以应用最广的Linux举例说,几乎所有互联网公司的服务端都在使用这个系统,如果Linux的所有者能够将协议加进去,那所有使用公司都将必须遵守协议。
在GitHub上,程序员们与公司的默默对抗还在继续升级。4月3日,996ICU的页面再次增加“为你的项目添加反996许可证”等内容,并添加了人民网、中国青年报的996“相关报道”,在这一天之内,该项目的星数再次增长近2万。
而互联网公司们的反应措施也十分直接,从4月3日早上起,许多程序员突然发现,QQ浏览器、360浏览器、搜狗浏览器等一系列国内浏览器,纷纷屏蔽了这个站点。
当人们输入这个网址时,以上国内浏览器显示的是:“您要访问的网站包含欺诈信息。”
(应受访者要求,文中钱晓群、顾明、徐冰、方莉、秦然均为化名)




