近日,一款名为“双特太赫兹能量鞋”的产品引起了消费者质疑。该产品售价1388元,宣称运用“先进的太赫兹技术”,“具有打通人体微循环、激活细胞等功效,可治疗高血压、白癜风、通风、脑梗等多种疾病”。

公开资料显示,双特太赫兹能量鞋的运营主体为江西双特体育用品股份有限公司,曾用名赣州双特体育用品有限公司,成立于2018年4月13日,实际控制人为其董事长郭桂先。在双特公司的招商资料中,号称从2017年就与中科院,浙江大学联合成立研究所,是全国第一家通过太赫兹、纳米等黑科技研发的功能性养生鞋,能做到立杆见影,曾为足密码,申花,易馨太,中奥,龙爱量子等品牌生产产品。
微商电商调研通过查阅相关文献了解到,太赫兹是波动频率单位之一,通常用于表示电磁波频率。《太赫兹科学与电子信息学报》上的一篇论文显示,太赫兹波通常定义为波长在0.03-3mm、频率在0.1-10THz范围内的电磁波,双特公司以“太赫兹”为名的养生鞋,价格从200多远到1388元不等,宣传可以治疗多种疾病。
最新的有关于太赫兹技术的学术论文中表述到,国内对于太赫兹技术的研究仅停留在探索阶段,尚未出现大规模产业。有专家表示“太赫兹波对人体无任何作用,所谓的能量鞋很可能是打着太赫兹旗号的骗局。”“产生低能量的太赫兹波成本也要几十万,高能量的成本要几千万。”
然而,一些双特太赫兹能量鞋的代理商通过微信群宣传,拉人成为代理,号称该产品不仅能缓解高血压、改善糖尿病,而且推荐人买鞋还有奖励,能“月入数万元”。但真有免费的“馅饼”和如此疗效的产品吗?
宣称能“打通经络、治疗疾病”
日前,山西吕梁的张女士向微商电商调研反映,自己母亲在亲戚的推荐下购买了“科技双特”的太赫兹能量鞋,“据说对偏瘫走路不好的人比较好,还降高血压”。随后其母亲开始向亲戚朋友推荐,家人劝阻无效,还引发了不小的家庭矛盾。
张女士的亲戚李莉自称是这款鞋的代理商。微商电商调研以顾客身份向她咨询,她先是将我们拉入一个微信群,该群里有410多名会员,非常活跃,随后李莉就在群内分享了大量关于这款鞋的文字和视频资料。
微商电商调研看到,这款鞋从外表看与普通运动鞋无异。微信群里发布的宣传资料称,这款鞋内装有太赫兹芯片,“鞋垫采用了量子技术、纳米技术、太赫兹、能量波相结合,利用高频共振波特性,通过按摩足底,促进足底血液循环的同时刺激穴位,产生温热效应打通经络,环节脚部疲劳加快体能恢复,唤醒人体沉睡细胞,增加人体机能。”
据李女士介绍,双特养生鞋运用的太赫兹技术,里面释放的亚毫米波是介于微波与远红外线之间的电磁波,它具有光的直射性和电磁波的渗透性,亚毫米波高频振动每秒振动可达上万亿次,有智能识别靶向修复的作用,与人体细胞DNA、酶类的振动频率一致,可激活细胞及骨髓内的干细胞,修复受损和杀灭坏死的细胞,排除毒素,因此能调理人的亚健康状态。
从双特会员群里发布的资料中看,双特公司除了拥有能量鞋,宣称运用太赫兹技术的其他产品也有售卖,如大神吹亚太赫兹能量光波仪,小神吹光波量子仪,太赫兹眼睛,太赫兹能量梳,太赫兹手机贴,太赫兹银离子袜子,太赫兹鞋垫,双特纯鳄鱼包包男女款,太赫兹纯鳄鱼腰带,量子除皱棒等。
随后,微商电商调研扫描李莉出示的二维码,进入一个名为“双特商城”的微信微商城,该商城目前在做中秋节促销活动,搭配不同款式的双特太赫兹能量鞋以及其他产品成为礼包,标价从815元到1万元不等,会员群中不时有人晒单,仅9月21日这天上午,群里就有不少于5人将自己销售出去的订单截图发到群里。
为了证明鞋子的销量火爆,李莉称自己的团队每个月都能挣一两万元。“咱们是五级分销,购买一双鞋就可以自己推广,拉人加入不仅能把本钱赚回来,还能持续增收。就是坐着拿钱,团队起来想刹闸都刹不住。”
在另一位代理严先生的微信中,有大量顾客穿上双特太赫兹能量鞋之后的“体验视频”:一位患有骨质增生、步履蹒跚的老人,穿了这款鞋12天后,便可轻松小跑。另一位骨头坏死、拄着拐杖的顾客,在穿鞋五分钟后即可正常行走。还有人穿上双特的鞋子血压、血糖降下来了,脑梗后遗症患者的手能动了、脚能走了、能开口说话了,还有人穿着双特鞋子,帕金森综合征消失了,偏瘫患者能站起来走路了,更神乎其神的是,有女士穿双特鞋子宫颈炎好了,盆腔炎好了,乳腺增生好了,子宫肌瘤消失了。双特养生鞋真的有如此神奇?
对此一位专家表示,太赫兹波其实就是电磁波的一个特殊波段,具有穿透力强、危害小等特点,主要应用于物质鉴定、无损检测以及通信等方面。
目前国内太赫兹技术的发展还处于探索期,研究聚焦于如何低成本地产生高能量的太赫兹波。技术上最大的难点在于如何探测和产生这一波段,“产生太赫兹的手段非常有限,且功率低成本高,产生低能量的太赫兹波成本要几十万,高能量的成本要几千万。”
对于“可将自然界能量转化为太赫兹波作用于人体”的太赫兹鞋,该专家认为,目前的研究尚未发现太赫兹波对人体有任何作用。“太赫兹波的能量很小,对人体的影响可以理解为无作用。”
现阶段太赫兹技术的应用场景还未明晰,国内对于太赫兹技术仅停留在高校研究阶段,尚未出现大规模产业,“所谓的能量鞋很可能是打着太赫兹旗号的骗局。”
五级代理,拉人头有奖励,或涉嫌传销
微商电商调研以加盟代理商为由,联系了多名双特养生鞋代理商,省级代理杨先生表示,“自己7月赚了2万多元,8月赚了3万多元,现在入局刚刚好。”
代理商是如何轻松月入过万的?双特养生鞋有一整套的销售模式,根据经销商提供的资料显示,双特养生鞋分为5个级别,分别是体验店、区代理、县代理、市代理、省代理。消费者花399元购买一双双特网布鞋就可以成为体验店级别的代理商,体验店代理每直推拉一个人成为体验店,销售一双1388的双特三高、尿酸鞋,可以得到直推奖励390元。
要晋级成为区代理,需要满足2个升级条件,一是要有3个直推体验店,二是自购或团队业绩累计达到3000元,据代理商严先生介绍,最直接的方法就是自己花3000元钱购买双特“老鹰套餐”,成为区代理后每销售一双1388元的尿酸鞋,享受直推奖励520元,还享受团队低于区代理每条线对应的直推差额奖,这个奖励被称为管理津贴。
区代理之上的县级代理,则需要代理商拉10个人成为体验店,且自购加团队业绩累计完成3万元。成为县级代理后,每销售一双1388元的双特尿酸鞋,享受直推奖励奖励640元,还享受团队低于县级代理每条线对应直推的差额奖励。此时如果县代发展了新的县代,没有差额奖,则享受20元每单的平级奖励,这个奖励可以拿2级。
要成为市级代理,则需要代理商拉15个人成为体验店,同事自购加团队业绩累计达到40万元,同时有三条独立的县级代理市场,市级代理每销售一双1388元的双特尿酸鞋,可以获得720元的直推奖励,同时享受团队低于省级代理条线对应直推差额奖,平级推荐时,依然享受20元每单的平级奖。
要成为最高级别省级代理,需要拉28个人成为体验店,且自购加团队业绩累计达到200万元;省级代理每销售一双1388的双特尿酸鞋,享受直推奖励800元,同时享受团队低于省级代理条线对应的直推差额奖,平级推荐时,依然享受20元每单的平级奖。
除了拉人成为双特养生鞋的代理有直接奖励之外,“做团队”也有对应的奖励。据严先生介绍,当代理的团队业绩达到40万元,其中有3个县级代理,小市场达10万,则奖励一部营销手机,价值5890元。当代理商的团队业绩达到300万元,其中有3个市级代理,小市场达80万,则奖励5万元现金。当代理商的团队业绩达到业绩400万元,其中有2个省级代理或者3个市级代理,小市场达120万元,就可以成为双特股东,可获得全商城3%的加权分红,股东只限前100名,招满截止。
除此之外,还有年度奖,当代理商的销售业绩达到1千万元,则奖励10万元现金。销售业绩达到2千万元,奖励价值50万元全款宝马汽车。销售业绩达到4千万,奖励价值140万元全款奔驰汽车。
这意味着,各个层级的经销商只有通过无限地发展自己的线下人员才能得到更低的拿货价、获取更高的级别,最终赚取更多利润。显然,经过层层经销商赚取利润,不免让外界怀疑双特养生鞋是卖产品还是拉人头。
根据《禁止传销条例》,组织者或者经营者通过发展人员,要求被发展人员发展其他人员加入,对发展的人员以其直接或者间接滚动发展的人员数量为依据计算和给付报酬,牟取非法利益的;组织者或者经营者通过发展人员,要求被发展人员发展其他人员加入,形成上下线关系,并以下线的销售业绩为依据计算和给付上线报酬,牟取非法利益的等行为,可认定为传销。
双特公司,实力如何?
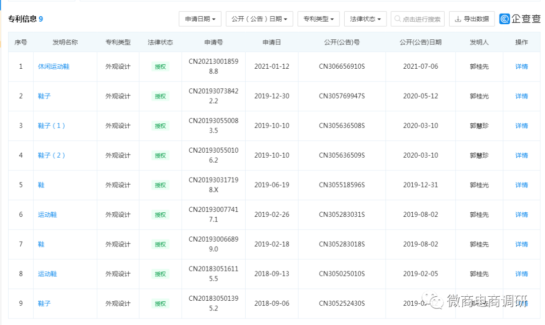
工商信息显示,江西双特体育用品股份有限公司注册地为江西省赣州市石城县琴江镇,法定代表人陈谷秀,注册资本500万元。据其官方宣传,双特公司占地120余亩,拥有标准化厂房及4条现代化生产制鞋设备和各层制鞋精1100余人,申请了几十个国家专利,但是工商信息显示双特公司的参保人数为0人,专利信息中拥有9项鞋子专利授权,与其宣称的几十项出入较大。
双特公司董事长郭桂先有多个名头,安徽省福建商会副会长、泉州安徽商会副会长、晋江安徽省商会副会长、晋江腾威鞋服贸易有限公司总经理、步先鞋业有限公司董事长、赣州双特体育用品有限公司董事长、广州双特体育用品有限公司董事长、赣州足梦思电子商务有限公司董事长等。据介绍,郭桂先出身于农村,2005年5月20日成立步先鞋业有限公司,2016年开始布局养生鞋,2017年开始研发太赫兹量子纳米能量鞋,2017年9月份上市。真正让
双特鞋子火起来的,是2020年一支原淘小铺团队的加入,据“共建集团”创始人焱境介绍,自己原是淘小铺的团队长,2020年4月选择加入双特,参与了公司奖金制度的指定,引入了更为科学和具有诱惑力的规则,据他介绍“双特的奖金拨比达到65%左右”,如今团队规模超过20万人,完成了上亿元的业绩。
虽然双特公司饱受虚假宣传和涉嫌传销的争议,但是当地却将其视为“重点扶持”的企业。2020年4月2日,石城县委书记鲍峰庭调研赣州双特体育用品有限公司,新闻显示,鲍峰庭进车间、看产品,详细了解企业运行情况,当得知企业在产品研发中将运动与健康相结合,产品上市后市场表现亮眼时,鲍峰庭十分看好企业的发展前景,勉励企业要始终掌握核心科技,抓好市场营销和运营,不断做强做大企业品牌。
对此,微商电商调研已经将双特公司的涉嫌违规情况反映到当地的监管部门,截至发稿尚未获得回复。我们特别提醒广大消费者,类似的太赫兹技术、量子技术可治疗疾病的产品骗局数不胜数,故事的最后,无一不是以消费者被骗的结局而告终,双特能量养生鞋不是第一个行此骗术的企业,希望消费者擦亮双眼,谨慎购买。关于双特公司的后续情况,我们将持续关注。









