目前,彩色3D打印也是一大主流方向,纵观市面上的彩色3D打印机包括来自Stratasys的Polyjet机器,惠普的MJF彩色尼龙机,XYZ的彩色FFF 3D打印机,珠海赛纳彩色喷墨树脂机等等。
2019年7月26日,南极熊从外媒获悉,台湾3D打印机制造商XYZPrinting在去年6月份提交了一项专利,能够使用SLA技术3D打印多种颜色的物体。据悉,该专利详细介绍了该公司提出的“自动着色技术”,基于SLA技术的多色打印发明,将是业界首创;即使粘合剂喷射和FDM / FFF已经能够实现彩色打印。
XYZPrinting将SLA、彩色粘合剂喷射和FFF系统在专利中进行了比较,表明之前SLA仅能够打印“单色3D物理模型”,为“更有效的解决方案”留下了提升的空间。
6年内从0到15台机器
作为Kinpo Electronics Inc.的一个部门,XYZPrinting成立于2013年,最初是作为桌面3D打印机的供应商。2017年,该公司迅速扩展其3D打印机系列,涵盖工业市场的SLS,粘合剂喷射和DLP机型。目前,在台式机和工业领域,它的3D打印机系列涵盖15种不同的机器。
在台式机系列中,XYZ生产Nobel系列SLA系统,以及彩色版的达芬奇3D打印机。XYZPrinting达芬奇彩色3D打印机采用FFF技术,在打印床内部,添加了喷墨头,喷射具有颜色液滴的塑料层。

XYZ的达芬奇彩色3D打印机打印的模型
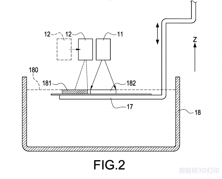
在XYZ提出的SLA系统中,颜色将通过安装在光模块旁边的着色模块添加。在这种情况下,可以假设系统中的树脂是透明的,无色的,并且类似于达芬奇颜色,通过液体喷雾添加不同的色调。然而,目前尚不清楚XYZ如何修复精确的颜色像素,从而可以像彩色FFF对象一样实现逼真的细节。
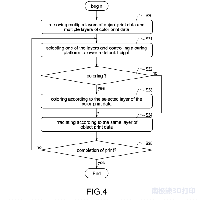
彩色SLA系统的3D打印工作流程。图像来自美国专利申请20190210275
XYZPrinting的SLA彩色3D打印方法的全部细节在美国专利申请20190210275中有详细描述。
陈鹏阳被列为该技术的唯一发明者,并和XYZ的一系列其他知识产权一起,其中包括“三维打印机及其三维打印模块”,于2018年12月提交申请。
目前没有任何信息表明XYZPrinting计划将此SLA技术做出产品。不过南极熊认为,这也可能会产生一种新的技术流派,引起行业的强烈关注。



