近期,一年暴涨16倍的“妖股”中潜股份,因公司涉嫌信息披露违法违规,被证监会立案调查。

公司复牌后股价一字板跌停,虽然封死跌停的封单量只有4万多手,但从资金购买意愿来看都不愿意接盘,所以4万多手的封单一直没有被打开。调查信息公布之后,一些散户股民开始展开维权之路。
像中潜股份涉“披露门”的公司并不在少数,10月20日晚间,证监会官网公布证监会对辅仁药业信息披露违法行为进行了立案调查、审理,查明辅仁药业存在多项违法事实,决定对辅仁药业集团制药股份有限公司(以下简称辅仁药业)处以120万元罚款;对辅仁药业集团有限公司(以下简称辅仁集团)处以60万元罚款;对辅仁药业时任董事长朱文臣处以150万元罚款;并对其他当事人采取相应罚款。证监会同日发布市场禁入决定书,决定对朱文臣采取10年证券市场禁入措施。
2015年度披露辅仁集团、辅仁控股非经营性资金占用的发生额、期末余额,以及相关决策程序、占用原因等信息,导致2015年年度报告虚增货币资金6380万元。
同样的手段致2016年度虚增货币资金7200万元。
辅仁药业的重组存疑
事情从2016年4月25日开始,辅仁药业拟向辅仁集团等14名交易对方发行股份及支付现金购买其合计持有的开药集团100%股权,本次重大资产重组构成关联交易、借壳上市。至2017年12月26日,辅仁药业持续披露更新的《重组报告书》,披露“辅仁药业与控股股东、实际控制人或者其他关联方之间不存在非经营性资金占用的情形,开药集团与辅仁集团、朱文臣或其他关联方之间亦不存在非经营性资金占用的情形。本次交易完成后,上市公司不存在关联方资金占用的情形”。
然而遭到打脸的是,证监会一查截止2015年12月31日、2016年12月31日,开药集团及其子公司向辅仁集团、辅仁控股提供资金的余额分别为34950万元、50370万元。开药集团未将上述交易记入财务账簿,导致《重组报告书》中披露的开药集团财务报表中货币资金余额虚假。直接导致2015年、2016年分别虚增货币资金41330万元、57570万元。
2017年,辅仁药业将开药集团纳入合并报表。辅仁药业、开药集团以前年度向辅仁集团、辅仁控股提供的资金,在2017年、2018年绝大部分仍未归还,且发生新的占用,辅仁药业未将相关资金占用情况入账,也未对辅仁集团、辅仁控股非经营性占用上市公司资金情况予以披露,导致披露的2017年、2018年年度报告存在虚假记载、重大遗漏。
1.4亿元关联担保不及时披露
此外,2018年,辅仁药业为辅仁集团及朱文臣借款提供4笔担保,涉及的合同金额合计1.4亿元,截至2018年12月31日未偿还金额7200万元。辅仁药业未及时披露,也未在2018年年度报告中披露该事项,导致相关年度报告存在重大遗漏。
联合财务一起造假
在2015年至2018年年度报告签署书面确认意见的董事有朱文臣、朱成功、朱文亮、苏鸿声,独立董事安慧、耿新生、李雯、张雁冰,董秘张海杰,财务总监朱学究、赵文睿,监事朱文玉、李成、贠海。朱文臣决策、安排辅仁集团、辅仁控股占用上市公司资金及担保事宜,却仍保证2015年至2018年年度报告真实、准确、完整,为直接负责的主管人员。董事朱成功、朱文亮、苏鸿声以及前后任财务总监赵文睿、朱学究均知悉辅仁集团、辅仁控股资金占用事宜,为直接负责的主管人员,其中,因任职关系,财务总监朱学究、赵文睿分别各签署了两期年报。其余8人为其他直接责任人员,其中,监事会主席朱文玉亦知悉辅仁集团、辅仁控股资金占用事宜;此外,因任职关系,独立董事张雁冰签署了一期年报。
公司及14名董监高共罚款590万元 朱文臣采取10年市场禁入措施
一、对辅仁药业定期报告存在虚假记载、重大遗漏,以及未及时披露关联方担保的行为,责令辅仁药业集团制药股份有限公司改正,给予警告,并处以60万元的罚款;对朱文臣给予警告,并处以90万元罚款,其中作为直接负责的主管人员罚款30万元,作为实际控制人指使从事信息披露违法罚款60万元;对朱成功、朱文亮、苏鸿声给予警告,并分别处以20万元罚款;对朱文玉给予警告,并处以15万元罚款;对张海杰、朱学究、赵文睿、安慧、耿新生、李雯给予警告,并分别处以10万元罚款;对李成、贠海给予警告,并分别处以5万元罚款;对张雁冰给予警告,并处以3万元罚款。
二、对辅仁药业报送和披露的重大资产重组文件中存在虚假记载的行为,责令辅仁药业集团制药股份有限公司改正,给予警告,并处以60万元的罚款;对朱文臣给予警告,并处以30万元罚款;对朱学究给予警告,并处以20万元罚款;对朱成功、朱文亮、苏鸿声给予警告,并分别处以15万元罚款;对朱文玉、赵文睿给予警告,并分别处以10万元罚款;对安慧、耿新生、李雯给予警告,并分别处以5万元罚款;对张雁冰、张海杰、李成、贠海给予警告,并分别处以3万元罚款。
三、对辅仁药业集团有限公司提供的信息存在虚假记载的行为,给予警告,并处以60万元的罚款;对朱文臣给予警告,并处以30万元罚款。
综合上述三项违法事实,合计对辅仁药业集团制药股份有限公司处以120万元罚款;对辅仁药业集团有限公司处以60万元罚款;对朱文臣处以150万元罚款;对朱成功、朱文亮、苏鸿声分别处以35万元罚款;对朱学究处以30万元罚款;对朱文玉处以25万元罚款;对赵文睿处以20万元罚款;对安慧、耿新生、李雯分别处以15万元罚款;对张海杰处以13万元罚款;对李成、贠海分别处以8万元罚款;对张雁冰处以6万元罚款。证监会同日发布市场禁入决定书,决定对朱文臣采取10年证券市场禁入措施。
如果按照2020年3月1日开始施行的新证券法可不止这些,不过因为该事件发生在之前所以还按照旧证券法执行。新证券法规定信息披露义务人报送的报告或者披露的信息有虚假记载、误导性陈述或者重大遗漏的,责令改正,给予警告,并处以一百万元以上一千万元以下的罚款;对直接负责的主管人员和其他直接责任人员给予警告,并处以五十万元以上五百万元以下的罚款。发行人的控股股东、实际控制人组织、指使从事上述违法行为,或者隐瞒相关事项导致发生上述情形的,处以一百万元以上一千万元以下的罚款;对直接负责的主管人员和其他直接责任人员,处以五十万元以上五百万元以下的罚款。
百亿市值缩水80%
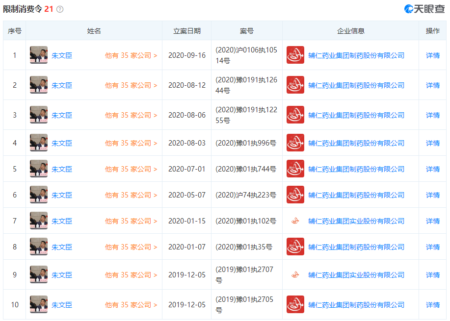
2017年8月份至今公司最高120多亿市值跌到了24亿,由原来的辅仁药业变更为*ST辅仁,实际控股人朱文臣被执行21条限制消费令。







